丸善工業 油圧横掘オーガー [AY01H]
丸善工業 油圧横掘オーガー
[AY01H]
通販特価: 263,300円(税込)
商品詳細
| 要納期確認 |

【仕様・特徴】
●ソリ付きで快適な横掘作業を実現できます
●コンパクトで作業スペースは最小でOK!
●油圧式のため水にも強い!
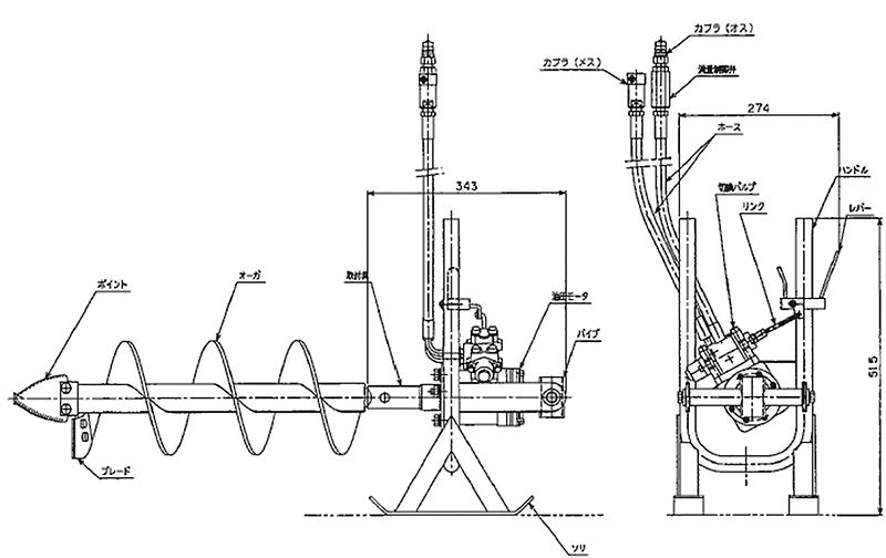
| 型式 | AY01H |
| 外形寸法(mm) | 274×343×515 |
| 本体質量(kg) | 15 |
| 最高圧力(MPa) | 13.7 |
| 所要油量(ℓ/min) | 9〜25 |
| 掘削トルク(N・m) | 最大88 |
| 回転数(rpm) | 300 |
| 接続口径 | 3/8インチカプラ |
| 延長ホース(m) | 有効長1/2×20 |
| オーガー径(mm) | φ100〜φ200 |
[標準オーガー種類]
| オーガー径 | ジョイント方式 | 備考 |
| φ50×500L | スナップオン式 | アダプター必要 |
| φ75×500L | ||
| φ100×500L | – | |
| φ150×500L | ||
| φ200×500L | ||
| φ250×500L |
| オーガー径(mm) | 横掘り(m) |
| φ50〜75 | 7〜8 |
| φ100〜200 | 3〜5 |
| φ250 | 2〜3 |
| φ300〜350 | – |

更に詳しくは丸善工業ホームペジにてご確認下さい

直径φ20mm〜35mm、長さ2.5m〜3.5m程度の鉄のパイプまたは丸棒が適当です。
2.横掘ハンドオーガー及び作業者が入る発進穴を油圧ショベル等で掘削します。
穴の幅は700mm以上、長さは1400mm以上必要です。
また穴の深さは横穴の中心位置よりも300mm以上深くする必要があります。
<注意>
穴の壁が崩れたりすることがないように、充分な処置をして下さい。
3.オーガーの到達位置にも必要な大きさの到達穴を掘削します。
4.発進穴の底に、横掘ハンドオーガーを滑らすための、コンクリートパネル等の板を敷きます。
5.横掘ハンドオーガーをコンクリートパネルの上に置き、削孔する穴の位置と穴の方向に合わせ、
コンクリートパネルの高さや傾斜を調整します。
調整後、コンクリートパネルが動かないように固定します。
6.横掘ハンドオーガーと油圧源とを延長ホースで接続します。
7.先端オーガーを横掘ハンドオーガーの取付具に装着します。
スナップボタンが確実に取付具の穴から出ていることを確認します。
8.横掘ハンドオーガーのパイプ部に掘削の反力を受けるための棒を差し込みます。
この棒は地上の作業者が保持し、掘削作業を補助します。
9.油圧源を始動します。(または油圧源の流れを切り換えます)
10.横掘ハンドオーガーのハンドルを保持し、オーガー先端掘削位置に押し付けます。
ハンドル部の長い方のレバーを握ると、オーガーが正転します。
コンクリートパネルの上を滑らせながら押し込み掘削します。
<注意>
オーガー先端を掘削位置に押し付けないで回転させると、オーガーが振られて危険です。
11.掘削長さに応じて、エクステンションオーガーを順次継足しながら掘進します。
石等の障害物で停止した時は、オーガーを後退させたり、逆回転させたりしながら障害物を排除します。
排除不可な障害物があると思われる時は掘削を中止し、位置や方向を変えるか、または障害物を
取り除いてから再度掘削して下さい。
硬い土質の場所では、反力を受ける棒を「てこ」として使い、横掘ハンドオーガーを前進させる
ようにします。
12.先端オーガーが到達穴に達したら、回転を停止し、横掘ハンドオーガーを引き戻し、
順次エクステンションオーガーを取外して回収します。
13.作業終了後、油圧源を停止します。延長ホースを取外し、横掘ハンドオーガー、
先端オーガー等を穴から引き上げます。
横掘ハンドオーガーのホース及び延長ホースはオス・メスのカプラを互いに接続しておきます。
14.使用後は使用した機材に付着した土を充分に洗浄します。
オーガーのジョイント部に詰まった土も除去します。
乾燥させた後、防錆油を塗る等の処置をして保管します。
※3万円以上のお買い物でも沖縄県・離島・北海道へのお届けは送料がかかる場合がございます。(ご購入前にお問い合せ願います)
| ※免責事項
本サービスでは、サイト上に最新の商品情報を表示するよう努めておりますが、メーカーの都合等により、商品規格・仕様・定価(容量、パッケージ、原材料、原産国など)が変更される場合、生産終了となっている場合がございます。このため、実際にお届けする商品とサイト上の商品情報の表記や、ご提供価格が異なったり、お届け不可となる場合がございます。その場合は受注契約は無効となり、当店はお客様に対して発生した損害は一切責任を負わないものとします。
またご使用前には必ずお届けした商品の商品ラベルや注意書きをご確認ください。さらに詳細な商品情報が必要な場合は、メーカー(製造元)に直接お問い合わせください。また、販売単位における「セット」表記は、箱でのお届けをお約束するものではありません。 以上あらかじめご了承ください。 |